来源:安菲订货 发布时间:2023-03-30 浏览:2855
前言:新国标后时代,电动车行业进入深度洗牌阶段。特别是受持续涨价潮和后疫情时代的影响,不少小杂牌企业被加速清理出局。在“强者恒强”的发展态势下,拥有多项核心科技的小刀,正在努力推动制造业高质量发展,紧抓数字化转型的新机遇,打造中国智能制造的新标杆。
小刀:数字化为制造业高质量发展插上腾飞的翅膀
小刀新能源科技股份有限公司(以下简称:小刀),是一家致力于发展绿色电动出行代步工具的大型生产制造企业。多年来,小刀凭借过硬的产品质量和完善的服务体系,打造出了“小刀”这个电动车行业的强势品牌,建立了覆盖全国30多个省级行政区的完整销售网络,获得来自国内及欧洲、南亚等国外地区广大用户的信赖和支持。
从小刀诞生之初的理念设计,到小刀成长期间的品质追求,“好用才是硬道理”的产品定位贯穿始终,这是小刀人对广大用户的真挚承诺,也是指引小刀人阔步前进的方向。
基于在数字技术的积累,如今的小刀正探索新方向、新模式,为行业的科技创新添薪助力,推进数字技术转化和商业化应用。
据悉,为更好的完成数字化转型,小刀集团制定了近期、中期和远期规划,提出数字化战略,针对不同业务场景,依托人、财、物、产品、客户和生态等载体,大力推进企业数字化建设。

小刀X安菲云:业财一体化升级,蓄力疫后新增长
为了完成小刀对集团数字化的战略部署,切换上线符合国家审计要求的ERP系统,安菲助力小刀建立业务PC端和经销商小程序端的订货交易平台,打通安菲云系统与金蝶云ERP系统的对接,实现业务与财务一体化。
具体表现为:
1. 打造专属经销商订货小程序和PC端订货商城
安菲云为小刀搭建了专属的经销商订货小程序和PC端订货商城,经销商门店可通过订货小程序或者PC端进行成车业务和售后配件业务的下单,24小时全天候的在线订购,车型配件,价格优惠,一览无遗,随心订购。这样减免了传统复杂的沟通交易订货场景,省时省力还省钱。经销商下单后,由内勤业务人员第一时间处理订单,安排发货,高效快捷。


我们以订货管理流程来举例说明:
经销商下单完成后,订单传到PC端后台订货单界面,由对应负责业务员来和经销商进行商品确认、金额确认;当经销商余额不足时,系统会弹出提示,此时需要打款或者授信完成,才可以继续提交订单;待订单审核完成后,接口会将单据自动同步至金蝶系统中。

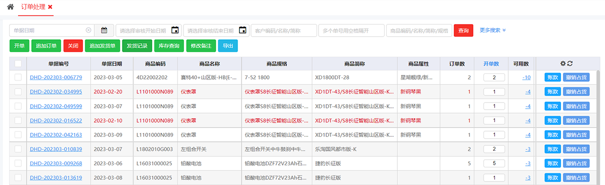
订单提交审核完成后,业务员可在订单处理界面对订单进行开单发货,订单处理界面能进行关闭、追加订单、查看库存、撤销占用等操作,业务员可根据实际情况合理地进行排单发货。同时此界面支持多个订单,合并发货的操作。

业务在开单发货后,会生成发货单,发货单审核完成后,会自动同步至金蝶,待金蝶上面下推出库单审核完成后,会将金蝶实际的出库数量反写到安菲发货单是实发数中。至此,整个订货发货流程就算全部完成了。

2. 实现数据统一化、精细化,加强对渠道客户掌控力
小刀客户数据量庞大,商品数据、BOM数据等众多且复杂,且多个系统中都需要用到这些数据。如果通过人工的方式在各个系统之间去维护这些数据,效率低、重复工作、浪费时间不说,还很容易出错,造成各系统数据不统一的情况。
对于客户数据,安菲云支持手工维护或通过Excel导入主数据,安菲云与其他系统通过对接接口,实现双方系统客户主数据档案同步,减少员工手工重复录入数据的工作量,实现数据同步,减少手工维护,以及提高数据的准确性。同时建立客户全生命周期管理,从潜在、跟进、合作、停用,对客户的管理和分析更加精细化。客户管理包含直接客户、间接客户,逐步形成企业客户资源,逐步加强对渠道客户的掌控能力。

对于商品数据和商品BOM数据,安菲云可通过接口从金蝶端同步获取,业务员只需在金蝶端维护好数据,审核后自动同步更新至安菲云系统,无需其他任何操作。且安菲云支持维护商品相关信息,包括品牌信息、分类信息、商品信息、商品图片、门户展示说明等。支持一个商品、一个属性(例如颜色)对应多个商品图片,并设置对应主图片,为价格政策、促销活动、经营范围等模块提供主数据支撑。

3. 多维度管理,助力企业有效合理化地管控营销数据
小刀对于经销商销售区域、组织、业务员之间设置有其独特的逻辑对应关系,经销商下单时,选择对应组织,可直接推送到所在区域对应关联的业务员下。
安菲云的销售区域可按照管理维度进行划分,可以管理大区、战区、省区等,区别于组织单元及部门。建立销售区域的目的为业务管理提供基础维度支撑,为企业精细化、市场区域化管理提供基础支撑,为区域经营者进行数据分析、数据决策提供主数据架构支撑,能使用市场灵活的调整及变化。
新开发的销售区域-分级管理设置,用来维护业务员、组织、销售区域之间的对应关系,使得经销下单直接分配到对应区域负责人下,高效快捷。

针对商品经营范围和特价销售政策可按商品分类、商品属性、组织、区域、分组、指定客户、排除客户等多个维度去设置,更加有效合理化地管控营销数据。


4. 闭环式管理模式,实现业财一体化
对于任何一个企业而言,都离不开业务和财务,而财务是服务和监督业务的。那么如何去实现业财一体化呢?
首先,需要实现闭环管理,业务的信息自动集成到ERP系统财务模块,实现业务驱动财务。确保业务信息与财务信息的数据完整性。在企业中形成以计算机为核心的闭环管理系统,使企业的人、财、物、供、产、销全面结合,实时反馈,动态协调,降低成本,实现全面监控管理。
这一点上,安菲云将前端各种业务包括经销商订货、发货、退货、收款、转款、返利上账等各种业务,通过接口同步汇聚到金蝶ERP系统中,直接从业务系统源头提取各环节、各业务类型数据,保障核算信息的完整,形成财务业务高度协同,杜绝中间加工环节,理顺财务业务之间的责任与权限。
其次是提高业务数据准确性。安菲云系统本身包含各种数据报表,也可根据客户需求,自定义开发各类型报表,可视化报表引擎,实现各企业报表定制化开发。让业务信息对接于财务,帮助公司及时、准确地编制合并报表,与财务系统高度集成,提高合并报表制作的准确性。

诚然,小刀是电动车智能化制造的先锋军,更是新时代数字化转型的产业标杆。无论是品牌、产品、营销还是服务,小刀电动车一直在不断创新突破,在助力行业健康发展的同时,也在不断夯实其“高性能国民车”品牌定位。我们更加有理由相信,在小刀集团与安菲云的强强联手下,小刀电动车定能向着更高更远的方向不断迈进,成为驱动行业涅槃扬弃的先行者,更能成为传递国民品牌力量的中坚力量。