追踪资讯 聚焦新闻

传递知识 见证梦想的力量
首页>安菲新闻>锚定数字化技术,传统农资企业一招焕发新活力!

锚定数字化技术,传统农资企业一招焕发新活力!

来源:安菲订货 发布时间:2024-07-19 浏览:1370


前言

据《2023年中国企业数字化转型发展白皮书》显示,2016-2022年中国数字经济总体规模逐年递增,2022年达50.2万亿元,同比增长10.3%,迅猛的增速背后,是数字化正在颠覆无数传统行业。

长久以来,由于农业行业传统基因浓厚,数字化技术应用并不广泛。但随着市场竞争的愈发激烈,数字化转型已经成为农资企业重要的突围方向。那么传统农资企业要如何利用互联网等数字化技术,快速强化企业核心竞争力?



案例分析:茂施农业科技有限公司
茂施农业,创立于2007年,领先的生物基控释肥的生产企业,是专业从事控释肥、高浓度液体肥料、功能性肥料和基施缓释微量元素肥料等新型肥料研发、生产和销售的国家高新技术企业,连续两年被评为中国新型肥料十大领军企业

— — 左右滑动 查看更多 — —

随着高新技术的飞速发展,数字化技术逐渐深入到农业产业的各个环节,为了顺应现代农业发展形势茂施在不断变革经营思路、拓展服务范围的同时,也意识到要运用数字化技术打造企业管理核心竞争力的重要性,因此很早便引进了一些数字化系统来辅助企业升级发展。

但随着数字化建设对于农资企业越来越重要,其需求也与日俱增,目前企业在数字化转型方面依然面临很多的挑。例如系统之间无法无缝对接、业务流环节对接不清晰,收款、销售和发货等环节仍需提升等等......

当传统ERP系统已无法满足企业日益增长的业务需求和技术变革趋势。茂施农业选择与安菲云携手,通过数字化营销方案,实现了企业管理的现代化和智能化。

“对症下药”才是止痛的良方。面对茂施的需求,安菲云团队携手茂施农业展开紧密协作:

深入调研,了解需求背景

安菲云深入调研了茂施农业当下的需求背景,了解到茂施农业拥有位于安徽青阳、山东平原和山东巨野的三大生产基地,每个基地均运用ERP系统来处理生产、销售、财务等日常事务。在销售端为了确保信息的实时同步,需要在这两套系统之间实现无缝对接。



深入沟通,给出专业化、合理化解决方案

经过与茂施农业项目负责人及ERP项目经理的多轮深入沟通,并充分考虑茂施农业公司的具体业务需求和实际运营情况后,最终给出了让企业满意的解决方案:

1

对接两个系统的信息流
为确保数据准确性,新合作客户档案需先由安菲云系统进行录入,操作时必须完整填入营业执照信息、照片等关键资料。录入完成后,安菲云系统将即时调用API接口,以此同步在ERP系统中新增相应的客户档案。成功同步后,茂施农业的相关人员将在ERP系统中为客户分配订货账号,并把相关信息反馈至安菲云系统中对应客户资料上。

若经销商信息发生变更,也按同样流程,先在安菲云系统中更新,并触发接口,以实现客户档案的即时修改。这种做法将确保两套系统间数据的实时同步和准确性,有效支持业务运行和决策制定。



2

对接两个系统的业务流
1、经销商通过线下渠道支付款项后,茂施农业公司的财务部门在接收到款项信息将在ERP系统中录入对应的收款单,并注明相关公司名称。该收款单一经审批,便会立即触发接口向安菲云系统发送新增收款通知,以此更新安菲云系统中客户的货款余额。

2、同时,茂施农业公司也充分考量了各类业务场景,包括业务取消收款及反审收款同步取消安菲款项的情况。以下为综合应对方案:

①、在业务执行过程中,如果发生需要取消收款的情形,ERP系统中的相关操作员将进行取消收款的操作。该操作会触发一个流程,即时通知安菲云系统同步取消对应款项。

②、若ERP系统中发生反审收款(即取消之前的审批操作),系统同样会自动通知安菲云,以取消对应的款项记录。这确保了两个系统在财务数据上的严格一致性和同步性,避免了因数据滞后或不一致导致的财务风险。

这种全面的考虑确保了在不同业务场景下,数据处理的完整性和准确性,从而提升了整体业务处理的效率和可靠性。



③、经销商可通过其独有的登录账号访问订货小程序,此平台允许经销商查询多项关键信息:

货款余额:查看目前账户中的可用资金额度。
返利余额:查看根据销售业绩获得的返利金额。
订单信息:浏览所有已下的订单详情,包括订单号、产品种类、数量、下单时间等。
发货状态:实时跟踪订单的发货状态,包括是否已发货、使用的物流公司及相应的运单号。

这一功能的完善不仅增强了经销商对业务流程的透明度,也提升了经销商的操作便利性和管理效率。

    

④、当经销商通过小程序进行下单时,系统首先会检查客户账户中剩余的货款是否充足。若客户账户中有返利,系统将允许客户在结算时选择使用特定的返利类型,且使用的返利金额将被限制在订单总额的一定百分比内。下单后,订单信息会自动同步到ERP系统的销售订单中。

如果订单未经过财务审核,经销商可以在小程序内自行发起撤回操作,从而删除ERP系统中的相关单据。这一过程提供了灵活性,使得经销商能根据实际业务需求调整订单处理。



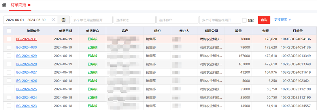
⑤、在茂施农业公司的实际业务流程中,经常会出现客户在初次报货审核后需要对订单进行二次甚至多次的变更。经过与财务部门及项目经理的沟通,双方项目组确定了以下调整方案:

新增数量:如果客户需要增加订单的商品数量,必须通过小程序重新下单。这一步骤确保所有新增的商品同样会经过系统的审核和处理。

减少数量或取消商品:若需减少数量或取消某个已下单的商品,则必须在ERP系统中发起销售变更单并提交审核。审核通过后,该变更单将同步至安菲云系统,实时更新之前的单据。



对于各基地的库管人员,在ERP系统中针对订货单的操作也有明确规定:

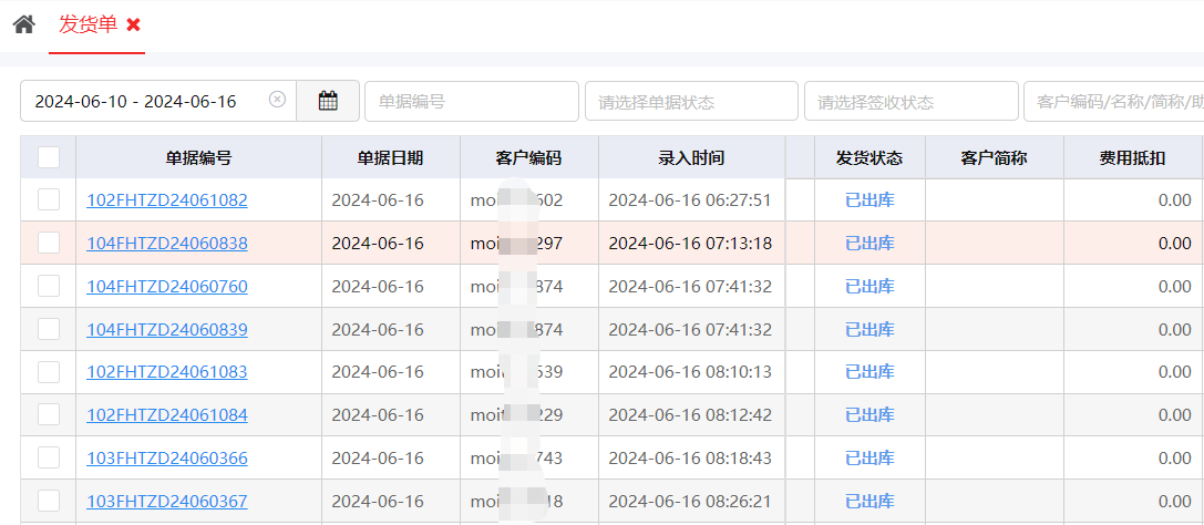
当根据实际需求推出发货单时,ERP系统销售发货单的审核将同步新增到安菲云系统的发货单,并相应变更订单的发货数量。

当ERP系统中发货单进一步生成出库单时,安菲云系统的发货单状态将更新为“待出库”。在出库单审核通过后,状态将更新为“已派车”,表示货物配送已安排。



这一系列操作流程的设计考虑了业务执行的灵活性与数据的准确性,确保了从下单到发货各个环节的数据同步和业务效率。

3

多账套的业务对接
由于茂施农业公司运营多个子公司,每个公司负责生产不同的肥料产品,因此客户在安菲云系统中下单时,系统需自动识别并匹配对应的账套进行处理。具体操作流程如下:

1.自动分控单品项:当客户通过安菲云系统下单时,系统将根据产品类型自动判断并对应到不同的账套。这一步骤确保了订单处理的准确性和效率。

2.货款处理:安菲云系统在处理客户货款时也将遵循同样的规则,即按照不同公司进行区分。一个客户在不同公司具有不同的货款、费用、返利等财务条目,下单时只能使用相应公司的余额。

3.下单限制:尽管客户在选购时可以浏览所有公司的商品,实际下单过程中,系统会根据茂施农业的业务需求进行智能限制。如果订单中涉及多个公司的商品,系统将提示并限制这种混合下单的行为。



这一系列措施确保了业务的规范执行和数据的正确性,同时也提升了客户服务的体验和满意度。

4

财务余额查询
在安菲云系统中,茂施农业公司成功整合了ERP的收款数据以及安菲系统管理的费用数据。这为内勤人员提供了一个实时查询的平台,可以查看客户最终的余额以及各个账户的费用余额。具体如下:

内勤人员查询:内勤人员可以通过安菲系统随时查看到客户的当前余额,包括每个账户的费用余额。这种即时的信息获取,大幅提高了工作效率和数据管理的透明度。



这些功能的集成不仅增强了数据处理的智能化和准确性,还优化了用户体验,使得财务对账和余额查询变得高效和透明。

如今,数字化转型已成为很多企业发展战略的一部分,但数字化转型并非一蹴而就,更多时候需要躬身入局,落地执行!作为一家综合型营销解决方案的软件服务商,安菲云今后会更多聚焦农资行业,深入业务场景,助力农资企业数字化转型升级。


18696588163

方案咨询:186-96588-163